- Elevator-Parts-SupplyHome
- Door Components
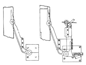
- Lower pivot arm assembly, l.h.; wdo-35c
LOWER PIVOT ARM ASSEMBLY, L.H.; WDO-35C
$165.00
Incl
Brand
Elevator and lift parts
SKU
1613
Tags
door, DOOR HARDWARE, doors, PIVOT ARM ...
LOWER PIVOT ARM ASSEMBLY, LEFT HAND
(SEES# WDO-35C; OEM# 465D041G01)
Related Products
Recently Viewed